史上超全阀门动画工作原理分享
2022-06-21 乐动体育在线注册,乐动体育(中国)阀门
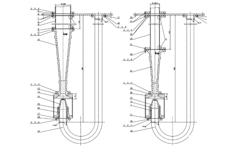
用于提升悬挂装置的新型钢丝绳锁绳器
2022-06-20 乐动体育在线注册,乐动体育(中国)设备
注油器工作原理知识分享
渐开线齿轮的变位(齿廓偏移)知识分享
钢铁厂空压机冷却水投用步骤分享
2022-06-17 乐动体育在线注册,乐动体育(中国)设备
KS-BJ系列热电偶常见故障及排除方法分享
2022-06-17 乐动体育在线注册,乐动体育(中国)自控
接地故障,是小电流接地系统相间故障的罪魁祸首
2022-06-16 乐动体育在线注册,乐动体育(中国)电气
安全和控制系统中阀门的预期寿命
2022-06-16 乐动体育在线注册,乐动体育(中国)阀门